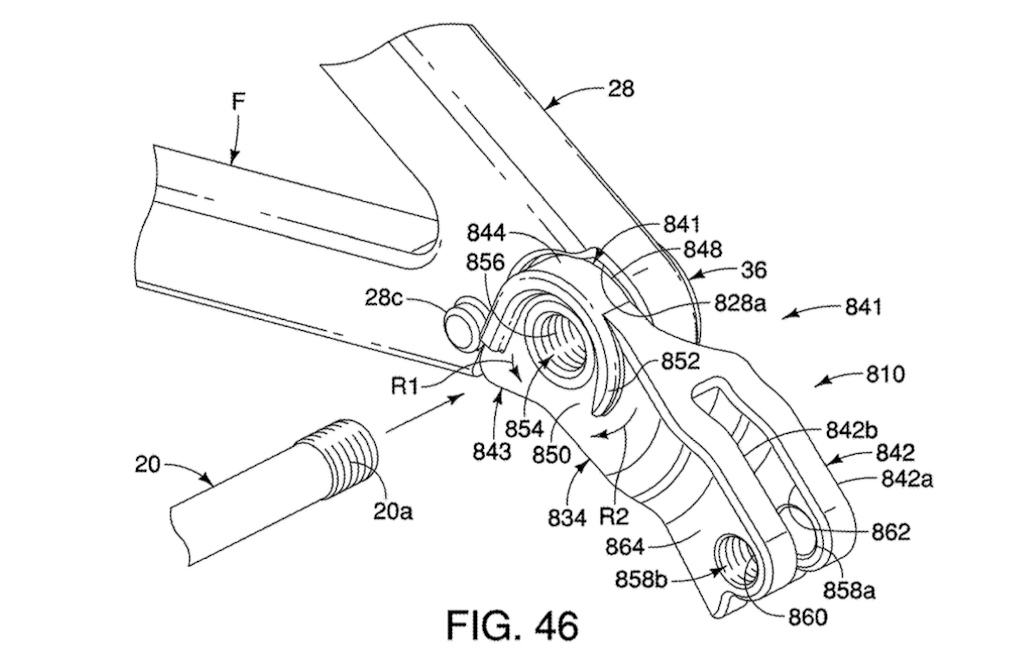
Da tempo SRAM adotta per il cambio un forcellino parte integrante dello stesso deragliatore, che si fissa al telaio tramite due perni che racchiudono le superfici interna ed esterna del forcellino. Una soluzione particolarmente robusta vista la capacità del meccanismo di spostarsi e tornare indietro in caso di impatto laterale. Finora Shimano sembrava voler rimanere fedele al forcellino tradizionale, ma adesso ha depositato un brevetto relativo ad un nuovo forcellino del deragliatore.

Il nuovo forcellino sfrutta un design a due punte che racchiudono il deragliatore stesso. Un deragliatore che, dal disegno, sembra più un deragliatore da strada, vista la presenza di una cassetta a 13 velocità.

In ogni caso questa soluzione renderebbe senza dubbio il forcellino più rigido e più robusto in caso di impatto, ma potrebbe anche servire ad aumentare la precisione richiesta per ogni cambiata.


